Запасные части ЧТЗ Запасные части ЧТЗ
Чита
Например:
Актобе
Алдан
или
Выбрать автоматически
Актобе
Алдан
Алматы
Алчевск
Архангельск
Астана
Астрахань
Атырау
Баку
Балашиха
Барнаул
Белгород
Бердянск
Бишкек
Владивосток
Владикавказ
Воркута
Воронеж
Горловка
Грозный
Донецк
Екатеринбург
Иваново
Ижевск
Иркутск
Казань
Калининград
Каменск-Уральский
Караганда
Каховка
Кемерово
Киров
Комсомольск-на-Амуре
Костанай
Краснодар
Красноярск
Красный луч
Ленск
Луганск
Магадан
Магнитогорск
Макеевка
Махачкала
Мелитополь
Минск
Мирный (Якутия)
Москва
Мурманск
Нерюнгри
Нижневартовск
Нижний Новгород
Нижний Тагил
Новая каховка
Новокузнецк
Новосибирск
Новый Уренгой
Норильск
Ноябрьск
Нур-Султан
Омск
Оренбург
Ош
Павлодар
Пермь
Петрозаводск
Петропавловск
Петропавловск-Камчатский
Псков
Ростов-на-Дону
Салехард
Самара
Санкт-Петербург
Саратов
Севастополь
Семей
Симферополь
Сочи
Ставрополь
Сургут
Сыктывкар
Тараз
Ташкент
Токмак
Томск
Тында
Тюмень
Ульяновск
Усинск
Усть-Каменогорск
Уфа
Хабаровск
Ханты-Мансийск
Херсон
Челябинск
Чита
Шымкент
Экибастуз
Энергодар
Южно-Сахалинск
Якутск
Ваш город
Чита
Войти
Запасные части к тракторам на одном сайте
+7 (932) 303-00-10
+7 (932) 303-00-10
г. Чита, Сухая Падь, д. 3
Пн-Пт: 9:30-18:30 Cб-Вс: Выходной
Отправить заявку


Ремонт отопителя кабины Т-170 Б-170 трактора в Чите


/
с НДС 20%
Описание

Снятие отопителя кабины Т-170

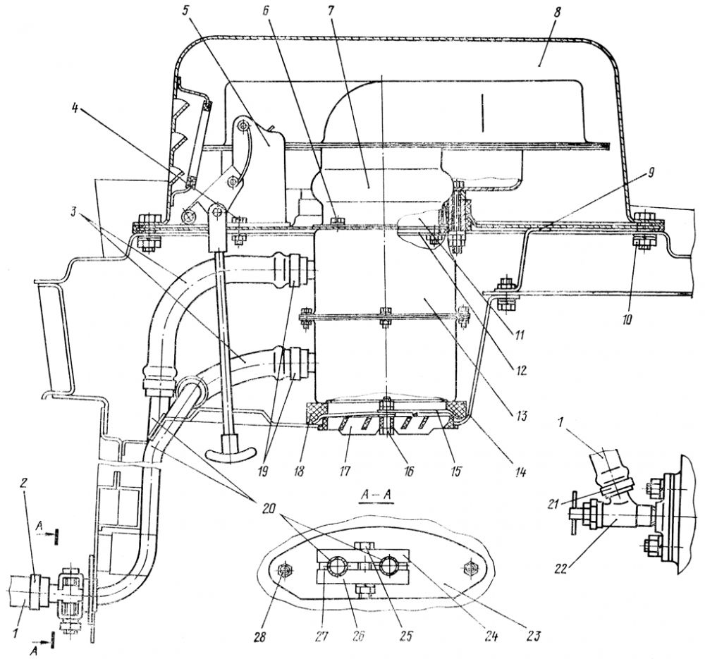
Отопитель кабины

Рис. 308. Отопитель кабины

Слейте охлаждающую жидкость из системы охлаждения двигателя. Отсоедините рукав 1 ( рис. 308 ) от крана 22 на блоке дизеля, ослабив хомут 21 и рукав от патрубка на термостатной коробке водоотводной трубы. Отсоедините второй конец рукава 1 от трубок 20 теплообменника, ослабив хомуты 2. Отверните гайку и выверните болт 25. Снимите зажимы 2,4 и 26 с трубок теплообменника. Выведите трубки 20 из уплотнительных колец 27 и выньте их из передней стенки кабины. Отверните две гайки 28 крепления заглушки 23 и снимите ее.

Установка кожуха отопителя с воздухораспределителем

Рис. 309. Установка кожуха отопителя с воздухораспределителем

Сверните рукоятку 4 ( рис. 309 ) с тяги 3 включения теплообменника. Отверните две гайки 1 и снимите светозащитный козырек 2. Снимите опору зеркала с кронштейном, вывернув болт 8. Выверните три болта 6, два шурупа 9 крепления кожуха с воздухораспределителем 7 и снимите его. Удалите уплотнение 18 ( см. рис. 308 ) крышки кожуха теплообменника. Выверните болт; 16 и удалите зажим 15, воздухораспределитель 17 из кожуха 14. Снимите плафон освещения и обшивку крыши кабины. Снимите кожух 5 ( см. рис. 309 ) переднего электродвигателя стеклоочистителя и снимите с болта наконечник провода массы. Отсоедините провод от электродвигателя вентилятора. Ослабьте хомуты 19 ( см. рис. 308 ) и отсоедините рукав 3 от трубок радиатора теплообменника. Отверните восемь гаек 10 крепления отопителя и снимите его.

Разборка отопителя кабины Т-170

Установка радиатора отопителя

Рис. 310 Установка радиатора отопителя

Снимите с болтов кожуха отопителя прокладку 2 ( рис. 310 ). Отверните восемь гаек 11 и снимите крышку 4 кожуха теплообменника. Выньте радиатор 3 из верхней половины кожуха теплообменника, прикрепленного к плите 6. Снимите с отводящей и подводящей трубок радиатора 3 прокладки 1. Отверните восемь гаек 8 с четырех болтов и снимите второй конец провода массы 10 с болта электродвигателя 5 вентилятора, снимите две планки 9 и две прокладки 7. Отсоедините резиновой патрубок 7 ( см. рис. 308 ) от фланца 11 на плите 9. Снимите с болтов кожуха 8 отопителя плиту 9 в сборе со сборочными единицами корпуса 5 и верхней половиной кожуха 13 теплообменника.

Установка вентилятора-пылеотделителя

Рис. 311. Установка вентилятора-пылеотделителя

Снимите резиновый патрубок 2 ( рис. 311 ) с кожуха вентилятора пылеотделителя 1 и снимите прокладку 4 с кожуха отопителя 5. С болтов кожуха вентилятора снимите четыре втулки 6 и две прокладки 7. Выньте вентилятор-леотделитель 1 из кожуха отопителя 5. Снимите с кожуха отопителя 5 уплотнение 3. Отверните две гайки 4 ( см. рис. 308 ) крепления корпуса 5 на плите 9 и снимите корпус. Выверните четыре болта 6 крепления верхней половины кожуха теплообменника 13, фланца 11, двух планок 12 и снимите их.

Вентилятор-пылеотделитель

Рис. 312. Вентилятор-пылеотделитель

Отверните три гайки 4 ( рис. 312 ) и снимите фланец 2 с прокладкой 1. Отверните гайку 3, снимите пружинную шайбу и крыльчатку 9, выньте шпонку 6 из шпоночного паза вала электродвигателя. Снимите регулировочные шайбы 8 с вала электродвигателя. Снимите кожух 5 с фланца электродвигателя 7.

Технические требования отопителя кабины Т-170

  1. Воздухораспределитель, заслонка и вилка тяги, на корпусе должны свободно проворачиваться.

  2. Течь в местах соединений, перегиб и скручивание шлангов на трубопроводах не допускаются.

  3. После окончания монтажа установите кран на блоке дизеля в открытое положение. Проверьте работу вентилятора.

  4. На поверхности коллекторов радиатора, корпуса и кожуха вентилятора допускаются вмятины глубиной 1 мм, радиусом не менее 5 мм, в количестве до 3 штук.

  5. Радиатор:
    • допускается глушение не более двух охлаждающих трубок в сердцевине;
    • наплывы припоя и попадание других частиц внутрь трубок, а также смятие концов трубок, уменьшающее их проходное сечение, не допускаются;
    • допускается исправление сварных и паяных швов пайкой мягким припоем ПОССу 40-2-П;
    • внутренняя поверхность радиатора и его охлаждающих трубок должна быть очищена от накипи содовым раствором;
    • радиатор после ремонта испытайте на герметичность в водяной ванне воздухом под давлением 100 ... 150 кПа (1 ... 1,5 кгс/см²) в течение не менее 30 с, появление пузырьков воздуха не допускается.

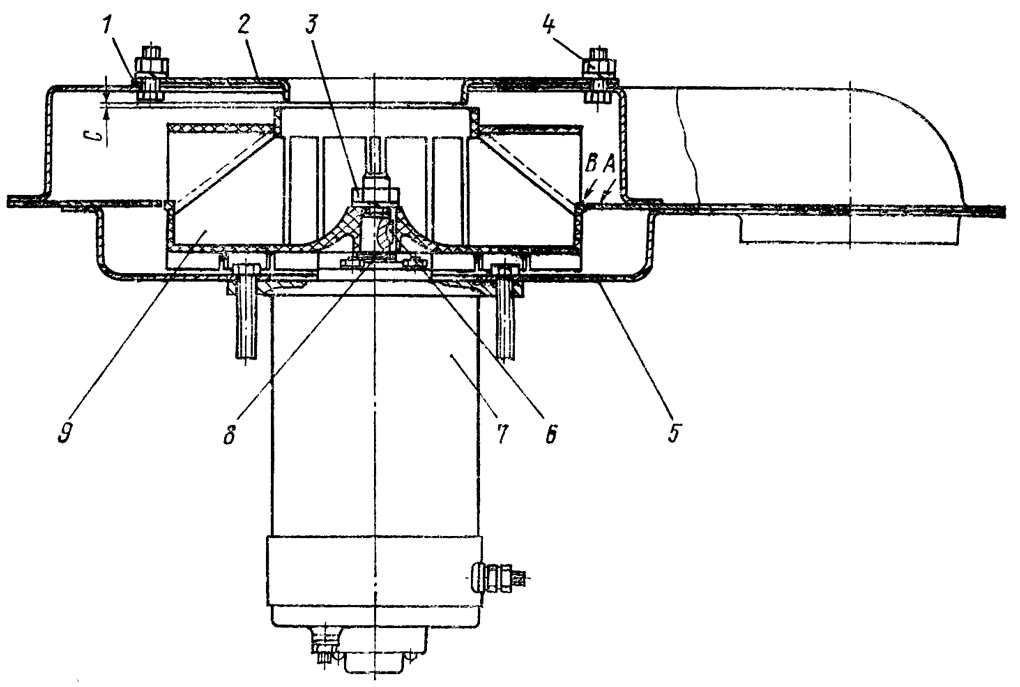
  6. Выступание торца В крыльчатки относительно поверхности А перегородки должно быть не более 1 мм, зазор С должен быть в пределах 1...2 мм.

  7. При испытании трактора после капитального ремонта во избежание размораживания радиатора-теплообменника:
    • открывайте разъединительный краник только после прогрева жидкости в системе охлаждения дизеля до 348 К (75 °С);
    • закрывайте разъединительный краник только после слива охлаждающей жидкости из системы охлаждения дизеля;
    • не допускайте продолжительной стоянки трактора с заглушенным двигателем при низких температурах окружающего воздуха.

Сборка отопителя кабины Т-170

Установите кожух вентилятора пылеотделителя 5 ( см. рис. 312 ) на электродвигатель 7. Установите регулировочные шайбы 8 на вал электродвигателя. Установите в шпоночный паз вала электродвигателя сегментную шпонку 6. Наденьте крыльчатку 9 на вал электродвигателя и закрепите гайкой 3 с пружинной шайбой. Крыльчатка должна свободно вращаться от руки, заедание не допускается. Проверьте выступание торца В крыльчатки относительно поверхности А перегородки кожуха 5; он должен быть не более 1 мм, при необходимости отрегулируйте подбором регулировочных шайб 8. 1 Установите на кожух вентилятора пылеотделителя паронитовую прокладку 1, фланец 2 и закрепите его тремя гайками 4 с пружинными шайбами. Проверьте зазор С=1...2 мм; при необходимости отрегулируйте подбором прокладок 1.

Соберите верхнюю половину кожуха 13 ( см. рис. 308 ) теплообменника с плитой 9, фланцем 11 и двумя планками 12 и совместите отверстия в них. Наденьте на четыре болта 6 шайбы, вставьте болты в совмещенные отверстия и соедините детали, закрепив четырьмя гайками с пружинными шайбами. Установите корпус 5 в сборе с тягой, заслонкой на плиту 9 и закрепите его двумя болтами 4 с гайками и пружинными шайбами. Установите на кожух отопителя 5 ( см. рис. 311 ) уплотнение 3 и прокладку 4. В кожух отопителя 5 установите 18-57-103СП вентилятор-пылеотделитель 1, на электродвигатель -вентилятора наденьте две прокладки 7 и четыре втулки 6. Наденьте резиновый патрубок 2 на кожух вентилятора. Установите на кожухе отопителя 8 ( см. рис. 308 ) плиту 9 с собранным корпусом 5 и верхней половиной кожуха 13 теплообменника. Соедините резиновый патрубок 7 вентилятора с фланцем 11 на плите. Наденьте на электродвигатель 5 ( см. рис. 310 ) вентилятора две прокладки 7, на болт электродвигателя провод массы 10 и закрепите вентилятор-пылеотделитель на плите 6 восемью гайками с контргайками 8, двумя планками 9. Наденьте на болты кожуха отопителя прокладку 2. На отводящие и подводящие трубки радиатора 3 наденьте прокладки 1 и установите радиатор в верхнюю половину кожуха теплообменника, Прикрепите крышку 4 кожуха теплообменника восемью болтами 11 с гайками, плоскими и пружинными шайбами.

Установка отопителя кабины Т-170

Подсоедините к трубкам радиатора теплообменника рукава 3 ( см. рис. 308 ) и стяните-их хомутами 19. Установите на крышу кабины отопитель в сборе и закрепите его восемью гайками 10 с плоскими и пружинными шайбами.

Подсоедините провод к клемме электродвигателя вентилятора. Установите, закрепите обшивку крыши и плафон освещения кабины. Установите кожух 5 ( см. рис. 309) электродвигателя стеклоочистителя и закрепите двумя болтами с шайбами и проводом массы,- расположив его наконечник между болтом и шайбой. Соберите кожух 14 ( см. рис. 308 ) с воздухораспределителем 17 и зажимом 15 и закрепите болтом 16. с двумя гайками и шайбой. Уложите уплотнение 18 на крышку кожуха теплообменника и установите кожух, с воздухораспределителем 7 (см. рис. 309), выведя тягу 3 через отверстие кожуха с воздухораспределителем. Закрепите кожух с воздухораспределителем тремя болтами 6 с шайбами плоскими и двумя шурупами- 9 с шайбами. Установите светозащитный козырек 2, закрепив его двумя гайками 1 с пружинными шайбами. Установите опору зеркала с кронштейном и закрепив ее болтом 8 с шайбой. Наверните на тягу 3 включения теплообменника рукоятку 4.

Установите заглушку 23 и закрепите двумя гайками 28 ( см. рис. 308 ) с пружинными шайбами. Установите в отверстия заглушки передней стенки кабины два кольца 27 и выведите трубки 20 через уплотнение наружу. Наденьте на трубки зажимы 24 и 26 и закрепите их болтом 25 с гайкой и пружинной шайбой. Наденьте рукава 1 на трубки 20 и стяните их хомутами 2. Протолкните в отверстие опоры крыши рукава 1 и подсоедините один рукав к крану 22 на блоке дизеля, закрепив его хомутом 21, другой рукав к патрубку на термостатной коробке водоотводной трубы. Залейте охлаждающую жидкость в систему охлаждения.

Ремонт отопителя кабины