Запасные части ЧТЗ Запасные части ЧТЗ
Чита
Например:
Актобе
Алдан
или
Выбрать автоматически
Актобе
Алдан
Алматы
Алчевск
Архангельск
Астана
Астрахань
Атырау
Баку
Балашиха
Барнаул
Белгород
Бердянск
Бишкек
Владивосток
Владикавказ
Воркута
Воронеж
Горловка
Грозный
Донецк
Екатеринбург
Иваново
Ижевск
Иркутск
Казань
Калининград
Каменск-Уральский
Караганда
Каховка
Кемерово
Киров
Комсомольск-на-Амуре
Костанай
Краснодар
Красноярск
Красный луч
Ленск
Луганск
Магадан
Магнитогорск
Макеевка
Махачкала
Мелитополь
Минск
Мирный (Якутия)
Москва
Мурманск
Нерюнгри
Нижневартовск
Нижний Новгород
Нижний Тагил
Новая каховка
Новокузнецк
Новосибирск
Новый Уренгой
Норильск
Ноябрьск
Нур-Султан
Омск
Оренбург
Ош
Павлодар
Пермь
Петрозаводск
Петропавловск
Петропавловск-Камчатский
Псков
Ростов-на-Дону
Салехард
Самара
Санкт-Петербург
Саратов
Севастополь
Семей
Симферополь
Сочи
Ставрополь
Сургут
Сыктывкар
Тараз
Ташкент
Токмак
Томск
Тында
Тюмень
Ульяновск
Усинск
Усть-Каменогорск
Уфа
Хабаровск
Ханты-Мансийск
Херсон
Челябинск
Чита
Шымкент
Экибастуз
Энергодар
Южно-Сахалинск
Якутск
Ваш город
Чита
Войти
Запасные части к тракторам на одном сайте
+7 (932) 303-00-10
+7 (932) 303-00-10
г. Чита, Сухая Падь, д. 3
Пн-Пт: 9:30-18:30 Cб-Вс: Выходной
Отправить заявку


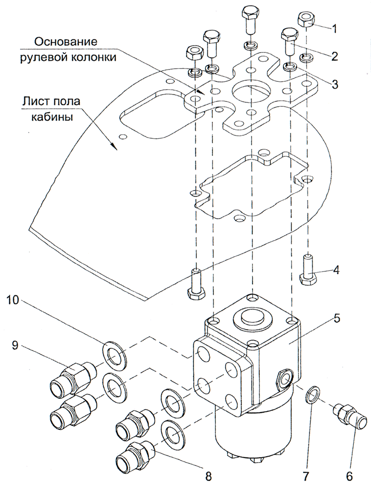
Колонка рулевая ПК46


/
с НДС 20%
Описание
ПК46.13.06.000 Колонка рулевая ПК46
Поз. Обозначение Наименование Кол. Масса
1 Гайка М10-6Н.5.019 (S16) ГОСТ 5915-70 4 0,012
2 Болт M10-6g×25.58.019 (S16) ГОСТ 7798-70 4 0,025
3 Шайба 10.65Г.019 ГОСТ 6402-70 8 0,001
4 Болт М10-6g×30.58.019 (S16) ГОСТ 7798-70 4 0,025
5 Насос-дозатор OSPB 200 LS 1 12
6 ПК46.43.00.012 Штуцер 1 0,066
7 027.34.11.036 Прокладка 1 0,003
8 027.05.01.048 Штуцер 2 0,2
9 027.05.01.048-01 Штуцер 2 0,32
10 027.34.11.066 Прокладка 4 0,005
Общий вес, кг 15,0
Колонка рулевая