Запасные части ЧТЗ Запасные части ЧТЗ
Чита
Например:
Актобе
Алдан
или
Выбрать автоматически
Актобе
Алдан
Алматы
Алчевск
Архангельск
Астана
Астрахань
Атырау
Баку
Балашиха
Барнаул
Белгород
Бердянск
Бишкек
Владивосток
Владикавказ
Воркута
Воронеж
Горловка
Грозный
Донецк
Екатеринбург
Иваново
Ижевск
Иркутск
Казань
Калининград
Каменск-Уральский
Караганда
Каховка
Кемерово
Киров
Комсомольск-на-Амуре
Костанай
Краснодар
Красноярск
Красный луч
Ленск
Луганск
Магадан
Магнитогорск
Макеевка
Махачкала
Мелитополь
Минск
Мирный (Якутия)
Москва
Мурманск
Нерюнгри
Нижневартовск
Нижний Новгород
Нижний Тагил
Новая каховка
Новокузнецк
Новосибирск
Новый Уренгой
Норильск
Ноябрьск
Нур-Султан
Омск
Оренбург
Ош
Павлодар
Пермь
Петрозаводск
Петропавловск
Петропавловск-Камчатский
Псков
Ростов-на-Дону
Салехард
Самара
Санкт-Петербург
Саратов
Севастополь
Семей
Симферополь
Сочи
Ставрополь
Сургут
Сыктывкар
Тараз
Ташкент
Токмак
Томск
Тында
Тюмень
Ульяновск
Усинск
Усть-Каменогорск
Уфа
Хабаровск
Ханты-Мансийск
Херсон
Челябинск
Чита
Шымкент
Экибастуз
Энергодар
Южно-Сахалинск
Якутск
Ваш город
Чита
Войти
Запасные части к тракторам на одном сайте
+7 (932) 303-00-10
+7 (932) 303-00-10
г. Чита, Сухая Падь, д. 3
Пн-Пт: 9:30-18:30 Cб-Вс: Выходной
Отправить заявку


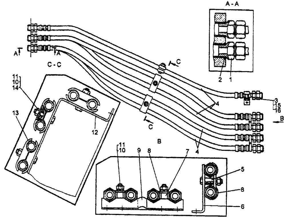
Установка рукавов на Т10М / Б10М


/
с НДС 20%
Описание
Установка рукавов на Т10М
#Номер запчастиНаименование деталиКол-во в сборке
150-26-661Штуцер6
246764Кольцо6; 2 3
3700-41-3567Штуцер6; 2 3
464-26-27-06СП 1
64-26-27-01СП 1
50-26-485-08СП 2
50-26-485-09СП 2
Рукав6
6
6; 2 3
6; 2 3
550-26-115Втулка1
650-26-122СПКронштейн1
741832Втулка2
850-60-230Прижим3; 1 3
950-26-155СПКронштейн1
103011Гайка6
11-Шайба 12 ОТ 65Г 096; 1 3
1250-26-154СПКронштейн1
13700-40-6907Планка6
143135Шайба3
15700-41-3565Гайка накидная6; 2 3
16700-41-3571Заглушка6; 2 3
1 Для трактора с выводом от трех секций гидрораспределителя.
2 Для болотоходного трактора с выводом от трех секций гидрораспределителя.
3 Для болотоходного трактора с выводом от двух секций гидрораспределителя.
Установка рукавов