Запасные части ЧТЗ Запасные части ЧТЗ
Чита
Например:
Актобе
Алдан
или
Выбрать автоматически
Актобе
Алдан
Алматы
Алчевск
Архангельск
Астана
Астрахань
Атырау
Баку
Балашиха
Барнаул
Белгород
Бердянск
Бишкек
Владивосток
Владикавказ
Воркута
Воронеж
Горловка
Грозный
Донецк
Екатеринбург
Иваново
Ижевск
Иркутск
Казань
Калининград
Каменск-Уральский
Караганда
Каховка
Кемерово
Киров
Комсомольск-на-Амуре
Костанай
Краснодар
Красноярск
Красный луч
Ленск
Луганск
Магадан
Магнитогорск
Макеевка
Махачкала
Мелитополь
Минск
Мирный (Якутия)
Москва
Мурманск
Нерюнгри
Нижневартовск
Нижний Новгород
Нижний Тагил
Новая каховка
Новокузнецк
Новосибирск
Новый Уренгой
Норильск
Ноябрьск
Нур-Султан
Омск
Оренбург
Ош
Павлодар
Пермь
Петрозаводск
Петропавловск
Петропавловск-Камчатский
Псков
Ростов-на-Дону
Салехард
Самара
Санкт-Петербург
Саратов
Севастополь
Семей
Симферополь
Сочи
Ставрополь
Сургут
Сыктывкар
Тараз
Ташкент
Токмак
Томск
Тында
Тюмень
Ульяновск
Усинск
Усть-Каменогорск
Уфа
Хабаровск
Ханты-Мансийск
Херсон
Челябинск
Чита
Шымкент
Экибастуз
Энергодар
Южно-Сахалинск
Якутск
Ваш город
Чита
Войти
Запасные части к тракторам на одном сайте
+7 (932) 303-00-10
+7 (932) 303-00-10
г. Чита, Сухая Падь, д. 3
Пн-Пт: 9:30-18:30 Cб-Вс: Выходной
Отправить заявку


Тяги на Т10М / Б10М


/
с НДС 20%
Описание
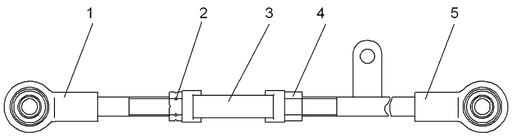
Тяга 64-13-138СП на Т10М
#Номер запчастиНаименование деталиКол-во в сборке
-64-13-138СП
64-13-139СП
64-13-159СП 1
Тяга1
150-18-15Вилка1
2-Гайка М20×1,5-7Н.6.0192
364-13-140СП
64-13-141СП 2
64-13-163СП 1
Тяга1
1 Для болотоходного трактора.
2 Входит в 64-13-139СП.
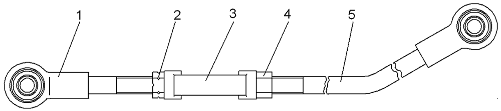
Тяга 64-13-160СП на Т10М
#Номер запчастиНаименование деталиКол-во в сборке
-64-13-160СПТяга1
150-18-15Вилка1
2-Гайка М20×1,5-7Н.6.0192
364-13-164СПТяга1
Тяга 64-13-191СП на Т10М
#Номер запчастиНаименование деталиКол-во в сборке
-64-13-191СПТяга2
150-13-207СПТяга1
2700-30-2406Гайка1
350-13-266Стяжка1
4-Гайка М20×1,25-7Н.6.0192
564-13-179СПТяга1
Тяга 64-13-192СП на Т10М
#Номер запчастиНаименование деталиКол-во в сборке
-64-13-192СП
64-13-192-01СП
Тяга1
150-13-207СПТяга1
2700-30-2406Гайка1
350-13-266Стяжка1
4-Гайка М20×1,25-7Н.6.0192
564-13-189СП
64-13-189-01СП
Тяга1
Тяги